Contact

Demharter GmbH
Einsteinstr. 9
89407 Dillingen
Germany

Phone: +49 9071-5890-0
Fax: +49 9071-5890-25

Internet: www.dataparts.eu
E-Mail: info@demharter.de

ENGINE GROUP

ENGINE ASSY

ENGINE ASSY

Head Assy Cylinder

Head Assy Cylinder

CYLINDER HEAD

CYLINDER HEAD

CYLINDER

CYLINDER

THROTTLE BODY

THROTTLE BODY

CRANKCASE

CRANKCASE

CRANK SHAFT

CRANK SHAFT

LEFT CRANKCASE

LEFT CRANKCASE

RIGHT CRANKCASE

RIGHT CRANKCASE

MOTOR STARTING , GENERATOR , ECU , COIL

MOTOR STARTING , GENERATOR , ECU , COIL

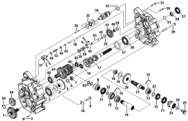
TRANSMISSION 1

TRANSMISSION 1

Transmission

Transmission

CVT

CVT

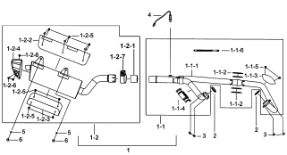
Muffler

Muffler

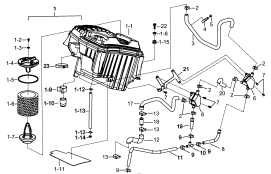
Air Cleaner

Air Cleaner