Kontakt

Demharter GmbH
Einsteinstr. 9
89407 Dillingen
Deutschland

Telefon: 09071-5890-0
Telefax: 09071-5890-25

Internet: www.dataparts.eu
E-Mail: info@demharter.de

Rahmen

Auspuff

Auspuff

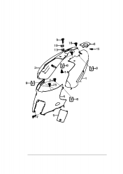
Benzintank

Benzintank

Bordwerkzeug

Bordwerkzeug

Bremse vorne

Bremse vorne

Elektrik 1

Elektrik 1

Elektrik 2, Schlösser

Elektrik 2, Schlösser

Heckverkleidung

Heckverkleidung

Hinterrad, Kotflügel, Bremse hinten

Hinterrad, Kotflügel, Bremse hinten

Innenverkleidung / Unterboden

Innenverkleidung / Unterboden

Lenker / Züge

Lenker / Züge

Lenkerverkleidung / Spiegel

Lenkerverkleidung / Spiegel

Öltank

Öltank

Rahmen

Rahmen

Rücklicht / Blinkl. hinten

Rücklicht / Blinkl. hinten

Schalter / Hebel

Schalter / Hebel

Scheinwerfer / Blinkleuchten vorne

Scheinwerfer / Blinkleuchten vorne

Sitzbank / Helmfach

Sitzbank / Helmfach

Ständer / Trittbrett

Ständer / Trittbrett

Stoßdämpfer

Stoßdämpfer

Tachowelle

Tachowelle

Vorderrad / Kotflügel vorne

Vorderrad / Kotflügel vorne

Vorderradgabel

Vorderradgabel