Kontakt

Demharter GmbH
Einsteinstr. 9
89407 Dillingen
Deutschland

Telefon: 09071-5890-0
Telefax: 09071-5890-25

Internet: www.dataparts.eu
E-Mail: info@demharter.de

Baugruppen Aufbau, Fahrgestell

Auspuff

Auspuff

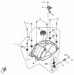
Benzintank

Benzintank

Bremsanlage

Bremsanlage

Elektrische Anlage

Elektrische Anlage

Frontverkleidung, Scheinwerfer

Frontverkleidung, Scheinwerfer

Heckverkleidung, Rücklicht

Heckverkleidung, Rücklicht

Lenkung

Lenkung

Lufteinlass CVT, Motorhalter

Lufteinlass CVT, Motorhalter

Luftfilter

Luftfilter

Motor, Vergaser

Motor, Vergaser

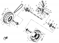
Räder hinten, Achse hinten

Räder hinten, Achse hinten

Rahmen

Rahmen

Schalthebel

Schalthebel

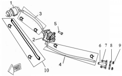
Schwinge

Schwinge

Seitenverkleidungen

Seitenverkleidungen

Sekundärluftsystem

Sekundärluftsystem

Sitzbank

Sitzbank

Stoßfänger

Stoßfänger

Tacho

Tacho

Trittbrett

Trittbrett

Vorderrad

Vorderrad

Vorderradaufhängung

Vorderradaufhängung